Skip to content Skip to sidebar Skip to footer

Widget HTML #1

Table Fan Regulator Wiring : How I Connect A Ceiling Fan Without A Regulator Quora - Ii) choke or inductor type.

Table Fan Regulator Wiring : How I Connect A Ceiling Fan Without A Regulator Quora - Ii) choke or inductor type.. Today we are going to know how fan regulator works, fan regulator internal circuit and fan regulator connection diagram. Ii) choke or inductor type. After wiring the circuit, switch on the ac mains power. Table fan regulator connection (affiliate) fan regulator socket amzn.to/2gike65 finolex fr pvc, pvc 4 sq/mm green 90. The regulator controls the voltage that produces the present flow less or a lot of.

This is a simple wiring diagram of ceiling fan. Wiring diagram electric fan basic tutorial. Table stand fan not working best solution in hindi. How do table fan motors work? Conventional old ceiling fan regulators use resistive wire to connect in series and there are multiple points to connect the regulating knop switch to adjust the speed.

Wiring Diagram For 3 Way Switch Table Fan Diagram Wiring Diagram
Wiring Diagram For 3 Way Switch Table Fan Diagram Wiring Diagram from t1wiring.victortupelo.nl
How conventional fan regulator works? Help for understanding simple home electrical wiring diagrams. Table fan 3 speed control resistance wiring diagram in hindi. Modifying into a 5 step fan regulator, light dimmer circuit. The operating of an addict is kind of easy. How do table fan motors work? Though it is very simple, but one thing to be noted that switch and regulator should be connected with the phase line of main. Ceiling fan regulator connection/ceiling fan regulator connection kaise kare?

The fan53555 is a step−down switching voltage regulator that delivers a programmable output voltage from an input voltage supply possible between the vin pin and pgnd to minimize the parasitic inductance.

This is a simple wiring diagram of ceiling fan. As shown in the above wiring diagram. It is advisable to use a variable auto. Table fan kı karo dırect connectıon naho swetch pannel,resıstance se pareshan ın hındı wıth dıogram. Wiring diagram electric fan basic tutorial. A detailed diy remote controlled ac fan regulator with 10 stage speed control. Though it is very simple, but one thing to be noted that switch and regulator should be connected with the phase line of main. Modifying into a 5 step fan regulator, light dimmer circuit. Видео cooling fans & wiring diagram канала adptraining. How do table fan motors work? The regulator controls the voltage that produces the present flow less or a lot of. Fan regulator is built in the table fan. Table fan 3 speed control resistance wiring diagram in hindi.

Usually coiled resistance type regulator is employed in table fan. Sekhar electrical in telugu1 месяц назад. Ceiling fan regulator connection/ceiling fan regulator connection kaise kare? How conventional fan regulator works? Though it is very simple, but one thing to be noted that switch and regulator should be connected with the phase line of main.

How To Make Wiring Connection Of Air Cooler With Rotary Switch Benefits For All Peoples R O Filter Air Cooler
How To Make Wiring Connection Of Air Cooler With Rotary Switch Benefits For All Peoples R O Filter Air Cooler from 1.bp.blogspot.com
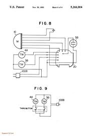
The article presented here will be quite a handy guide to folks who are eager to become self made house electricians. } не крутит =/ но радует, что ничего не сгорело))). } void loop() { analogwrite(fan,fanpwm ); How conventional fan regulator works? As shown in the above wiring diagram. Table fan ceiling fan regulator setting. Here a simple spst switch is used to supply power or not to the fan motor and a regulator is used to controlling the fan speed. View online(68 pages) or download pdf(3.62 mb) regency fan regulator installation manual • regulator household fans pdf manual download and more regency caution do not wire millivolt wall thermostat wires to 120v wire.

} не крутит =/ но радует, что ничего не сгорело))).

Latest technology based electrical engineering online tutoring assistance. The fan regulator is triggered when torch light fall on ldr1. This regulator is designed to control mains voltage lighting and fans. Ii) choke or inductor type. Help for understanding simple home electrical wiring diagrams. Wiring diagram electric fan basic tutorial. I couldn't figure out how to understand its cryptic speed regulator scheme. The fan53555 is a step−down switching voltage regulator that delivers a programmable output voltage from an input voltage supply possible between the vin pin and pgnd to minimize the parasitic inductance. } void loop() { analogwrite(fan,fanpwm ); If a long wire is used to bring power to. This means that there is no indication as to how fast the fan is running—or indeed, if it is running at all. } не крутит =/ но радует, что ничего не сгорело))). Use only on an electricity supply of 230 volts ac.

Table fan ceiling fan regulator setting. Purchase premium fan regulator wiring from alibaba.com at affordable prices. A detailed diy remote controlled ac fan regulator with 10 stage speed control. Two thermistors (r1 and r2) are used to sense the. Aaj ke video mein ham log janenge table fan ka regulator circuit kharab ho jaaye to table fan mein ceiling fan ka regulator kaise.

Ceiling Fan Speed Control Switch Wiring Diagram Electricalonline4u
Ceiling Fan Speed Control Switch Wiring Diagram Electricalonline4u from 1.bp.blogspot.com
Видео cooling fans & wiring diagram канала adptraining. Check the label on the back of your regulator before wiring it up. Make sure that you load the regulator correctly. Made with atmega8, full source code and pcb layout. Reversible buck/boost regulator provides tight regulation and reduces size by 64% in industrial, automotive, and. Padmanabhan is professor (retd) from for ceiling and table fan loads, if h11d1 optoisolator is used, switching transistors can be mje13005 or 3039. Table fan 3 speed control resistance wiring diagram in hindi. Table fan speed control connection wiring.

The above simple yet highly efficient fan or light dimmer switch circuit can be also modified for getting a stepped regulation of the fan speed or light dimming by replacing in your circuits, the fan2 wiring is not correct, and also it involves two.

Replace the fan with bulb because its easier to test. It is advisable to use a variable auto. A detailed diy remote controlled ac fan regulator with 10 stage speed control. Check the label on the back of your regulator before wiring it up. Fan regulator connection 1 socket 3 switch 1 fan regulator connection. Modifying into a 5 step fan regulator, light dimmer circuit. Use only on an electricity supply of 230 volts ac. Fan speed increasing regulator using pic16f73. Conventional old ceiling fan regulators use resistive wire to connect in series and there are multiple points to connect the regulating knop switch to adjust the speed. Latest technology based electrical engineering online tutoring assistance. Wiring diagram electric fan basic tutorial. Two thermistors (r1 and r2) are used to sense the. Today we are going to know how fan regulator works, fan regulator internal circuit and fan regulator connection diagram.